重慶銀行ATM取款機專用高清攝像頭
主要特性
? 采用高性能SONY CCD
? 分辨率高,700TVL,圖像清晰、細膩
? 低照度,0.002Lux @(F1.4,AGC ON),支持自動彩轉黑功能,實現晝夜監控
? 支持OSD菜單控制,適合用戶自定義設置
? 支持寬動態功能,寬動態范圍大于75dB
? 支持3D數字降噪功能
? 支持電子防抖功能
? 支持強光逆轉功能
? 支持同軸視控功能,方便遠程控制
? 支持自動電子快門功能,適應不同監控環境
? 支持自動電子增益功能,亮度自適應
使用范圍: 銀行ATM專用取款機 ,金融機夠,家庭
訂貨型號
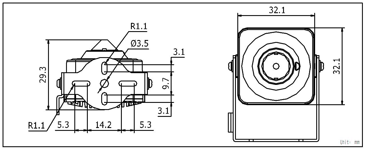
DS-2CC51A7P-DG1

| 型號 |
| ||||||||||||||||||||||||||
| 攝像機 |
| ||||||||||||||||||||||||||
| 菜單控制 |
| ||||||||||||||||||||||||||
| 一般規范 |
|
瀏覽次數:4119時間:2014/2/13 16:48:44
熱點新聞更多
- 安裝監控攝像頭還需求其他什么設備呢?2021/2/3 1
- 監控攝像頭有哪些分類2021/1/26
- 網線和監控線一樣嗎2020/12/8
- 監控攝像頭哪個牌子好?2020/11/13
- 監控攝像頭多少錢一個2020/10/26
- 隨處可見的監控攝像2020/9/2 1
- 監控攝像頭的區別分類2020/9/2 1
- 安裝監控要求有哪些2020/8/24
- 樓宇小區等安保系統如何組成2020/8/24
- 攝像頭安裝環境應該怎么選2020/8/13
- 安防監控系統使用注意事項2020/8/13
- 對監控系統故障的解決方法?2020/7/23
- 重慶購買網絡攝像機需要注意什么?2020/7/23
- 監控安防系統常見問題及解決方法2020/7/15
- 智能小區安防防盜報警常見問題有哪些2020/7/15
- 白光攝像機和紅外攝像機的區別講解2020/7/3 9
- 影響網絡監控攝像機帶寬的因素有哪些?2020/7/2 1
- 視頻監控系統使用前注意事項和維護保養2020/7/1 1
- 民用監控攝像機有哪些種類?2020/7/1 1
- 如何提高監控攝像機防破壞能力?2020/6/30


